Laddar
Spara
Artnr:
240851543
0
0
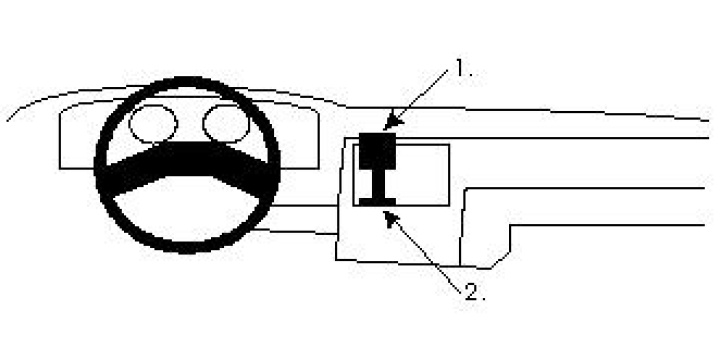
ProClip Monteringsbygel Ford Escort 86-90, Centrerad 86-90
ProClip till Ford Escort/Orion 86-90.
Erbjudandet gäller t.o.m:
298 kr
Fri frakt över 1000kr*
*ej hem/pall-leverans
Fri Support ingår alltid
Snabba leveranser
Kort, Klarna och Swish
Beskrivning
Denna ProClip passar till följande bilmodeller:
Ford Escort 86-90
För att montera din telefon på bygeln krävs en mobilspecifik hållare. För att välja rätt hållare som passar din mobil,
Hitta mer produkter från
Brodit
Specifikationer
| Märke: | Ford |
| Modell: | Escort , Orion |
| Typ: | ProClip |
Manualer & dokument
Omdöme
0 0
(0)
Den här produkten har inga recensioner.
