Laddar
Spara
Visar bild 1 2 3 4 5 av 5
Artnr:
240852886
0
0
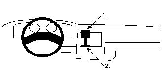
Subaru Impreza 01-04, Vinklad 01-04
ProClip till Subaru Impreza 01-04.
Erbjudandet gäller t.o.m:
248 kr
Fri frakt över 1000kr*
*ej hem/pall-leverans
Fri Support ingår alltid
Snabba leveranser
Kort, Klarna och Swish
Beskrivning
Denna ProClip passar till följande bilmodeller:
Subaru Impreza 01-04
För att montera din telefon på bygeln krävs en mobilspecifik hållare. För att välja rätt hållare som passar din mobil,
Hitta mer produkter från
Brodit
Specifikationer
| Märke: | Subaru |
| Modell: | Impreza |
| Typ: | ProClip |
Manualer & dokument
Omdöme
0 0
(0)
Den här produkten har inga recensioner.
