ProClip är bilspecifik, den är unikt framtagen efter varje bilmodell och har perfekt passform. ProClip erbjuder en stabil monteringsplattform och finns med flera placeringsalternativ för de flesta bilmodeller. Diskret design som smälter in väl i interiören. Trafiksäkert, snyggt och bekvämt!
ProClip är enkel att montera, du klarar det på en minut! Du snäpper helt enkelt fast ProClip i springor i instrumentbrädan, du behöver inte borra hål eller använda specialverktyg och du behöver inte plocka isär instrumentbrädan. En detaljerad monteringsanvisning medföljer. ProClip har AMPS-hål som förenklar monteringen av hållare. Tillverkad av högkvalitativ ABS/Acetal-plast. Färg: Svart. Utvecklad och tillverkad i Sverige.
- Vill du kunna byta mellan flera hållare på samma ProClip? Se Brodits MultiMoveClip.
- Ska du montera större enheter eller tyngre utrustning? Se Brodits förstärkta monteringsbyglar och Piedestalfästen (PM-fästen).
- Brodit ProClip
- Tesla Model Y 25-
- Tesla Model Y Juniper 25-
- Center mount
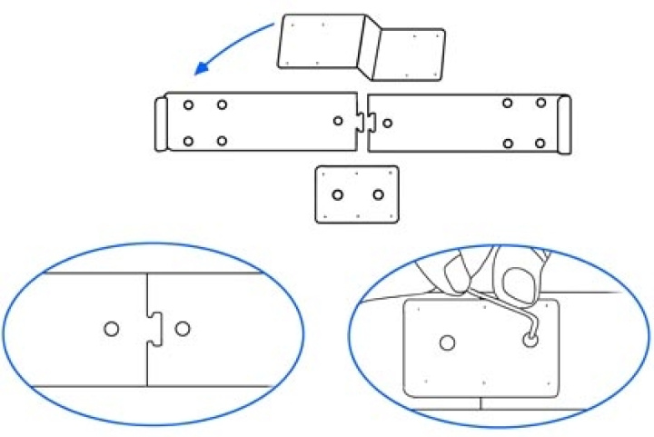
Läs igenom hela anvisningen noga och titta på bilderna innan monteringen påbörjas. Det är viktigt att montera ProClip-fästet först: enhetshållare/utrustning bör monteras fast efter att fästet sitter på plats. Detta fäste består av fyra delar.
1. Sätt ihop fästets delar. Placera skarvplattan på fästets mönstrade sida och fäst med de medsända skruvarna.
2. Skruva fast monteringsplattan på fästets vänstra sida med de medsända skruvarna. Använd den medsända våtservetten till att rengöra området där fästet ska monteras. Avlägsna skyddsplasten på den dubbelhäftande tejpen.
2. Håll fästet över skärmen så att monteringsplattan är på förarsidan om skärmen. Pressa långsamt och hårt nedåt på fästets båda sidor för att haka fast det om båda sidor av skärmen. Dra försiktigt ut sidorna för att underlätta monteringen. Pressa nedåt tills fästet sitter stadigt på plats.
4. ProClip fästet sitter på plats, monteringsplatta på förarsidan av skärmen.
Brodit ProClip
Brodits tvådelade monteringslösning ger dig en installation som passar dina behov perfekt. Den ena delen är en enhetshållare, anpassad för just din mobiltelefon, surfplatta eller annan handhållen enhet. Tillsammans med denna används en ProClip - ett monteringsfäste designat specifikt för din bilmodell. ProClip installeras helt utan skruvar och utan att skada bilens interiör. Flexibelt, stabilt och säkert. Enklare blir det inte!
Passar till
Tesla Model Y 25-
Tesla Model Y Juniper 25-
